Nintendo heeft een nieuw patent ingediend voor Switch 2 Joy-Cons die magnetisch aan de controllers worden bevestigd.


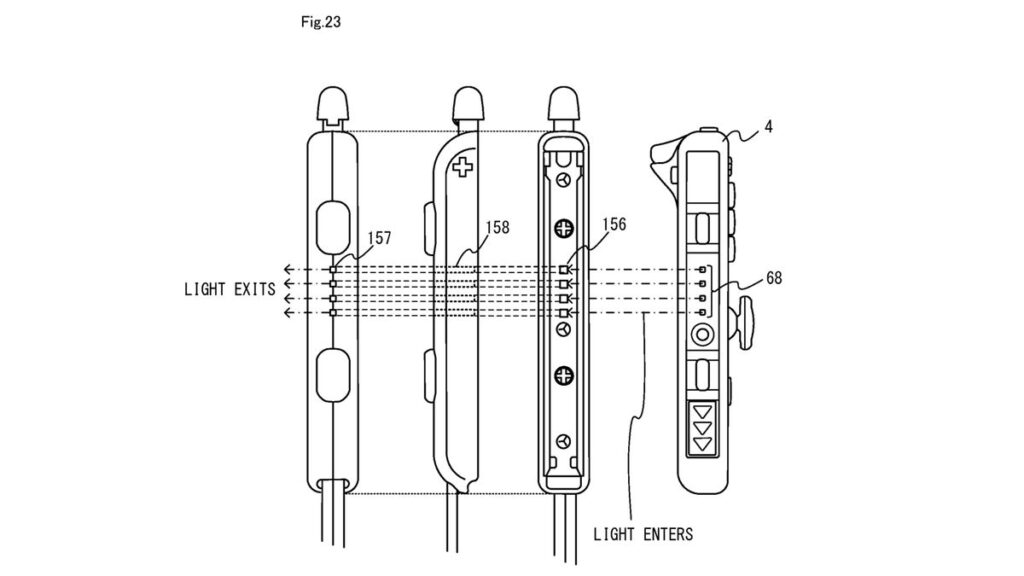
De Switch 2 werd officieel aangekondigd op 16 januari en verschijnt ergens in 2025. Volgens recent ontdekte patentdocumentatie toont Nintendo een vernieuwde Joy-Con met SL- en SR-knoppen, vergelijkbaar met het huidige model, maar met een magnetische bevestiging in plaats van een mechanische schuif.
De eerste Nintendo Direct over de Switch 2 vindt plaats op 2 april.

